Assalamu’alaikum warahmatullahi wabarakatuh
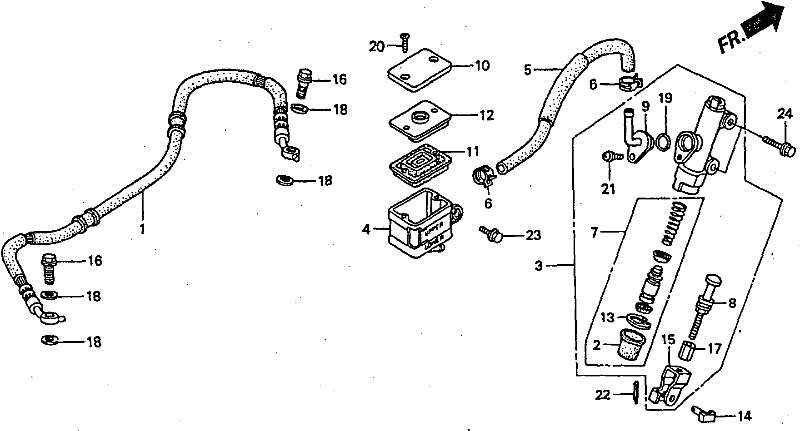
Salam RC Valve bro n sist, posting kali ini mengenai daftar spare part NSR 150 SP di bagian master rem belakang / rear brake master cylinder. Monggo silakan disimak, siapa tau berguna...
|
REF. NO
|
PART NUMBER
|
DESCRIPTION
|
REQD. NO
|
|
1
|
43310-KW6-840
|
HOSE COMP., RR. BRAKE
|
1
|
|
2
|
43504-MB2-006
|
BOOT COMP.
|
1
|
|
3
|
43510-KW6-841
|
CYLINDER SUB ASSY., REAR BRAKE MASTER
(NISSIN)
|
1
|
|
4
|
43511-KV3-831
|
CUP COMP., OIL
|
1
|
|
5
|
43512-KW7-880
|
HOSE, MASTER CYLINDER
|
1
|
|
6
|
43514-KS6-701
|
CLAMP, MASTER CYLINDER OIL HOSE
|
2
|
|
7
|
43520-MJ6-305
|
PISTON SET, MASTER CYLINDER
|
1
|
|
8
|
43530-MB2-006
|
ROD COMP., PUSH
|
1
|
|
9
|
45503-KV3-006
|
CONNECTOR
|
1
|
|
10
|
45513-HA2-006
|
CAP, MASTER CYLINDER
|
1
|
|
11
|
45520-MG7-006
|
DIAPHRAGM
|
1
|
|
12
|
45521-HA2-006
|
PLATE, DIAPHRAGM
|
1
|
|
13
|
46182-500-013
|
CIRCLIP
|
1
|
|
14
|
46503-MAL-000
|
PIN COMP., BRAKE ROD
|
1
|
|
15
|
46504-MAL-601
|
JOINT, BRAKE ROD
|
1
|
|
16
|
90145-MS9-611
|
BOLT, OIL, 10X22
|
2
|
|
17
|
90315-KW6-841
|
NUT, SPECIAL, 8MM
|
1
|
|
18
|
90545-300-000
|
WASHER, OIL BOLT
|
4
|
|
19
|
91212-422-006
|
O RING, 14.8X2.4
|
1
|
|
20
|
93600-04040-1G
|
SCREW, FLAT, 4X40
|
2
|
|
21
|
93893-04012-07
|
SCREW-WASHER, 4X12
|
1
|
|
22
|
94201-20150
|
PIN, SPLIT, 2.0X15
|
1
|
|
23
|
95701-06016-00
|
BOLT, FLANGE, 6X16
|
1
|
|
24
|
96600-06020-00
|
BOLT, SOCKET, 6X20
|
2
|
Wassalamu’alaikum warahmatullahi wabarakatuh

No comments:
Post a Comment